Telehandler Axle
1. Two-stage deceleration, various speed ratio options to meet the needs of different models.
2. Integrated drive-parking system, wet road braking, large and stable braking torque.
3. The overall design of the swivel frame lowers the center of gravity of the vehicle, simplifies the installation of the frame, and improves safety performance.
4. Limited slip differential, forced differential lock, high cross-country ability in difficult working conditions.
5.Modular design, flexible installation distance adjustment, fast and efficient matching.
6.Suitable for 4 - 5 ton telescopic handlers
MAIN CHARACTERISTICS:
Designed for 4 to 5 ton telehandlers, this equipment has a number of advanced features. It uses two-stage deceleration with different speed factors for different models. The integrated drive-park system with wet braking provides large and stable torque. The overall design of the swivel frame lowers the vehicle's center of gravity, simplifies frame installation, and improves safety. Equipped with a limited-slip differential and a forced differential lock, it has high cross-country ability in difficult conditions. In addition, the modular design allows flexible adjustment of the installation distance for fast and efficient matching.
Main Technical Parameters:
Type |
LTG27 |
LTG32 |
LTG43 |
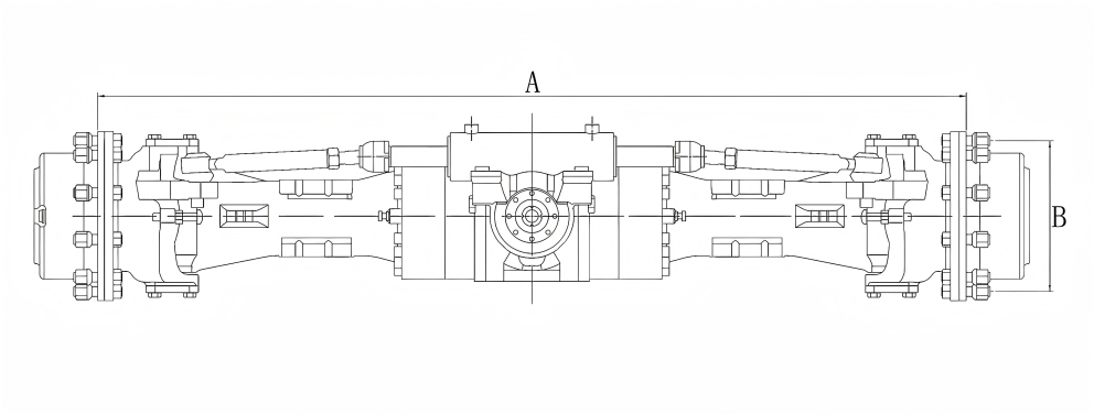
Rim Mounting Distance A (mm) |
1920、2050、2180 |
1950 |
1950 |
Rim Mounting Dimensions B (mm) |
8-M18x1.5 on ø 275 |
10-M22x1.5 on ø 335 |
10-M22x1.5 on ø 335 |
Total gear ratio |
14.3-23.3 |
17.1-23.3 |
17.1-23.3 |
Maximum rotation angle |
55° |
55° |
55° |
Brake system |
Multi-disc wet brakes |
Multi-disc wet brakes with integrated parking and working system |
Multi-disc wet brakes with integrated parking and working system |
Differential |
Self-locking differential and differential lock |
Self-locking differential and differential lock |
Self-locking differential and differential lock |
Maximum output torque (Nm) |
27000 |
32000 |
43000 |
Dynamic load (kg) |
8800 |
10500 |
12000 |
Static Load (kg) |
22000 |
26250 |
30000 |
Load capacity (kg) |
4000 |
4500 |
5000 |
Unladen Vehicle Weight (kg) |
8500 |
10500 |
12500 |



